一、用途
SRY2-2隔爆型管狀電加熱器適用于封閉式的油箱中加熱油。
二、特點
SRY2-2隔爆型管狀電加熱器是在SRY2普通型管狀電加熱器的基礎上,改進了它的接線裝置,采用保護式全封閉罩殼密封。
本電加熱器是將彎曲成型的管狀元件焊在法蘭上構成,直接放在油中加熱,使用壽命長。管子材料采用不銹鋼管。
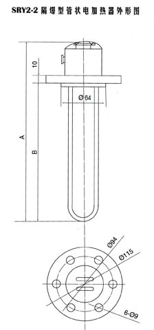
三、主要參數、規格、長度
額定電壓:單相220V、三相380V
工作介質:礦物油
表面發熱功率:3.1w/cm2
工作壓力:≤0.6Mpa
功率 kw | A | B(浸入油中長度) |
1 | 355 | 255 |
2 | 530 | 430 |
3 | 730 | 630 |
4 | 945 | 845 |
5 | 720 | 620 |
6 | 830 | 730 |
8 | 1030 | 930 |

